Кейінгі бірнеше жылда автоөндірушілер қозғалыс режимі селекторының пішінін әртүрлі етіп жасап жүр. Бұрыннан таныс тұтқа мен джойстик орнына шайба немесе батырма қойыла бастады. Tesla тіпті R немесе D режимін таңдауды дисплейге ауыстырды. Жақында BMW осы бағыттағы жоспарын патенттеді.
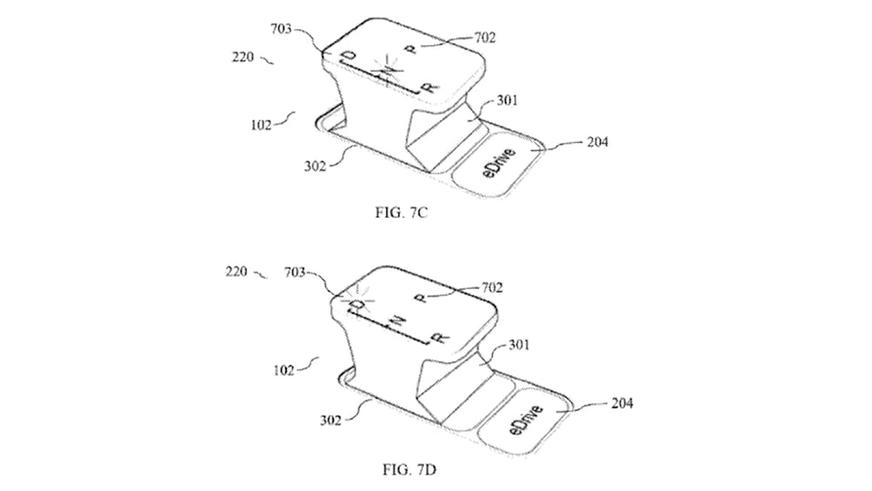
CarBuzz басылымы патенттегі суреттер негізінде бірнеше рендер дайындады. Сурет пен сипаттамаға қарағанда, бавариялықтар қозғалтқышты іске қосу батырмасы, тұрақ тежегішін қосу және қозғалыс режимі селекторын бір контроллерге біріктіруді көздейтін сияқты.
Мотор өшіп тұрған кезде, селектор ортаңғы консольмен бірігіп кетеді. Моторды іске қосу үшін оны басу керек, содан кейін оны алға не артқа жылжыту арқылы қажетті режим таңдалады. Қозғалтқышты қолмен өшірудің және тұрақ тежегішін қосудың қажеті жоқ. P режимі таңдалғаннан кейін борт электроникасы мұның бәрін өзі істейді.
Мұндай жүйе тауарлық көлікке қашан қойылатыны қазірше белгісіз. Марканың ең жаңа концептісі BMW Concept XM әдеттегі джойстикпен жабдықталады. Патентте мұндай схеманы гибрид пен электромобильге де қолдануға болатыны көрсетілген.

Комментариев: 0