Какой будет обновлённая Lada Vesta. Смотрим чертежи

Какой будет обновлённая Lada Vesta. Смотрим чертежи

Модернизированная модель получила ОТТС, а значит, скоро в производство.

• Бұл жарияланымды қазақ тілінде оқуға болады

В базе Росстандарта появилось Одобрение типа транспортного средства (ОТТС) на обновлённое семейство Lada Vesta. В документации указана как обычная, так и кросс-версия седана, а также универсалы. Версию Sport рестайлинг пока не затронет.

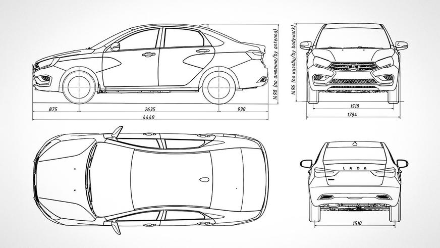
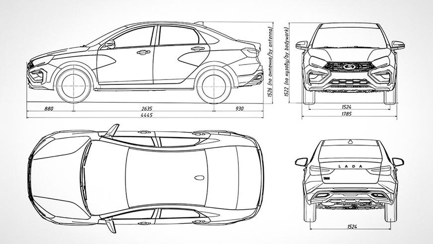
На чертежах в ОТТС наглядно видно, что обновление экстерьера оказалось достаточно лёгким. Впрочем, ничего глобального и не ожидалось. На изображениях видны новые бамперы спереди и сзади, другие фары и фонари, обновлённая радиаторная решётка для отдельных версий, и, судя по всему, дизайнеры несколько изменили форму крышки багажника.

За счёт нового пластикового обвеса подрастёт габаритная длина «Весты». У обычных седана и универсала речь идёт о 30 мм (4400 мм), а у версий Cross — +21 мм (4445 мм).

Изображений салона в ОТТС нет, но как будет выглядеть интерьер обновлённой Lada Vesta, мы знаем ещё с осени 2021 года. Тогда в Сети появились первые фотографии, на которых можно было разглядеть как цифровую приборку, положенную топовым комплектациям, так и вертикальный планшет мультимедийного на пару с блоком климатической установки из каталога Renault.

Какой будет обновлённая Lada Vesta. Смотрим чертежи

В технической начинке изменений никаких не будет. В моторной гамме остались прежние вазовские двигатели 1.6 и 1.8 на 106 и 122 силы соответственно, а также агрегат Renault 1.6 на 113 сил. Последний будет предлагаться с вариатором.

Новый ОТТС для Lada Vesta вступает в силу с 25 февраля 2022 года. Официальная премьера обновлённой машины также должна состояться в феврале, однако продажи модели начнутся только весной.

Комментариев: 16

Чтобы оставить комментарий, вам необходимо зарегистрироваться или авторизоваться.
  • Аватар
    MMC

    А зачем обклеили камуфляжем?!))) Кто то будет шпионить за ТАЗиками?

    Ответить
    • Аватар
      Hugh Morjoui   MMC

      Даже непритязательных автопроизводителей иногда посещают интересные идеи, которые можно спереть. Вопрос есть ли он там или это камуфляж потому, что так принято делать. Увидим.

      Ответить
  • Аватар
    Аза

    В РФ продажи машин в январе рухнули. Многие россияне в зависимости от региона покупают либо китайцев, либо б/у немцев по цене новой весты. За те же деньги китайцы предлагают больше опций, больше клиренс, без навязывания допов. Европейки дают больший класс авто, статус марки авто, тишину и качество материалов… так как машины собраны для других людей.
    УАЗ попал в жёсткий штопор. У компании нет денег на обновление своих моделей. Надеются на инвесторов из Китая. Но зная прагматичный подход китайских инвесторов УАЗ ни чего не светит.
    Автовас следующий на очереди. Ценник на новую весту уже в штыки воспринят большинством людей. Новая гранта это кузов рено логан с двигателем РФ в зависимости от комплектации. Цена тоже не конкурент авто производителям с мировым именем…
    Всё что не правильно было устроено тихо умирает. Государство уже не может вливать бабки в эту бездну…
    В Казахстане подход к развитию авто прома тот же что и у наших соседей. Результат будет тот же!

    Ответить
    • Аватар
      кроссовер   Аза

      во-первых в автоваз РФ деньги не вливало, а во-вторых автоваз под рено-ниссан и там естественно будут модели, которые будут на одной платформе..

      Ответить
    • Аватар
      MAN   Аза

      Аза ты копирайтер что ли, печатаешь много, но такой бред, подслушанный у дурачков.
      Автоваз это на данный момент очень и очень прибыльный проект концерна РЕНО-Ниссан. «Загнуться» ему никак не дадут, переведут все модели на логановскую платформу, что по моему мнению отлично. Это крепкая, надежная и простая конструкция, то что нам нужно. Плюс владельцы Логанов, Дастеров, Ларгусов,Вест, не ждет дефицит автозапчастей. Как раз с этой проблемой чаще всего сталкиваются владельцы китайских машин.

      Ответить
      • Аватар
        Аза   MAN

        Понимаю один абзац трудно осилить таким персонажам как MAN…))) То что автоваз переходит полностью на платформу рено логан это несомненный плюс для покупателей. Но то что местные предприятия по производству авто запчастей отправят лаботяг на биржу труда это факт! Обращаю внимание на тот факт что количество собственных разработок свернули. То что зарабатывает иностранный концерн это не совсем то что развивается авто ваз. То что автоваз не может конкурировать по цене это тоже факт.

        Ответить
        • Аватар
          MAN   Аза

          А с чего ты решил, что ЛАБОТЯГ оставят без работы, на автовазе наоборот дефицит рабочей силы. Пойдут на завод работать.
          Марки Шкода, Сеат, Дачия глупо упрекнуть в застое развития, автоваз ждет подобная история.
          Ну а вопрос цены, попробуй найди дешевле

          Ответить
          • Аватар
            Аза   MAN

            Вот видишь…))) ты опять суть не уловил. Что такое авто запчасти. Это десятки предприятий ТОО, ИП по всей стране которые производят комплектующие. … одних только производителей бензонасосов может быть с пол десятка. Производители зеркал, приборов освещения, и так по винтику. Все эти предприятия имеют свой класс оборудования и свой класс работников. Какую то часть иностранный концерн локализует производство на территории РФ с нуля на новом оборудовании на свои модели. Но львиная доля запчастей всё равно будет на местах у себя на родине производиться. Где годами выпускают запчасти на эти модели.
            По поводу цены… В европейской части РФ люди уже проголосовали за б/у иномарки из Германии. Зачем покупать весту или логан если по сопоставимой цене есть корейцы, немцы?

            Ответить
          • Аватар
            Аза   Аза

            Время покажет… https://www.youtube.com/watch?v=3g1x2zL53To Х-рей не полетел, Ларгус после обновления тоже. Старую гранту ещё берут от безнадёги. Но будут ли брать в кузове рено логан большой вопрос, ведь цена будет совсем другая.

            Ответить
          • Аватар
            MAN   Аза

            Так все твои знания с ютюба, с типичного канала, с громким заголовком и иным содержанием!? Это прискорбно? лучше купи подписку на авторевю, вот они профи.
            Гранту будут штамповать как минимум до 2025, потому как это самая маржинальная модель. Будет как с Нивой, уже лет 10 грозятся снять с производства, но Нива живее всех живых.

            Ответить
  • Аватар
    OptimaВОД

    А помните такие чертежи были когда покупали ИЖ

    Ответить
  • Аватар
    id11893834

    Доверьтесь китайцам они доведут до ума.

    Ответить
  • Аватар
    mikolamm75

    Какой будет обновлённая Lada Vesta? Дороже чем предыдущая старя версия))))

    Ответить