BMW механиктердің жұмысын қиындатпақ

BMW механиктердің жұмысын қиындатпақ

Компания өз көліктерін авторланбаған сервистік орталықта жөндеуді қиындататын элемент ойлап тапты.

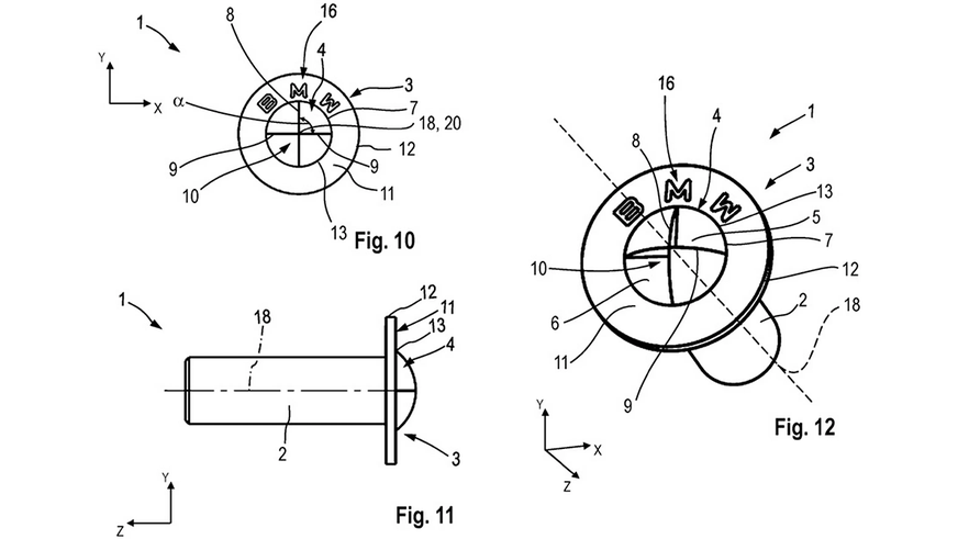
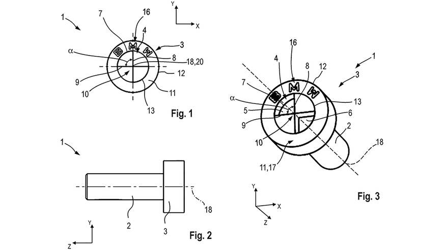
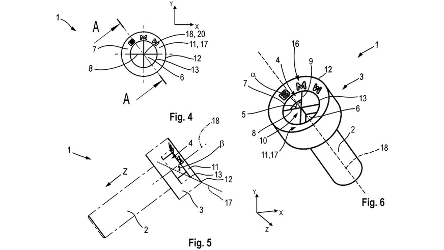
Желтоқсанда BMW болашақта автомобильдерінің шанағы мен салон құрылымында қолданылуы мүмкін арнайы бұрандаға патент алды. Мұндай жабдық эстетикалық жағынан да, утилитарлық тұрғыда да тиімді болмақ.

Патенттен бұранда басының бірнеше нұсқасы бар екені байқалады, мысалы, ұяшықты, жалпақ және дөңгелек түрі бар. Оның бәрі BMW эмблемасы пішінінде жасалған, дөңгелектің төрт секциясының екеуі ойыңқы, екеуі не тегіс, не дөңес болады. Мұндай тамаша шешім бұрын неге ешкімнің ойына келмегені белгісіз.

Қазір қолда бар бұрауыштардың ешбірі мұндай бұранданы бұрауға жарамайды. Сондықтан BMW иесіне көлігін жөндету үшін компания алдын ала тиісті құрал-жабдықпен қамтамасыз еткен дилерлік орталыққа баруға тура келеді.

Жаңа бұранда өз бетінше еңбек ететін шеберлер үшін шешілмес түйінге айнала ма? Бұлай бола қоюы екіталай. Ал қосалқы бөлшек сатушыларға қосымша табыс көзі болары анық.

Комментариев: 0

Чтобы оставить комментарий, вам необходимо зарегистрироваться или авторизоваться.